CAE «WeRTSim»
Computer-Aided Engineering «Welding and Related Technologies Simulation
» Инновационное программное обеспечение для быстрого инженерного анализа в области сварки и родственных технологий
» Платформа цифровых двойников сварочных и родственных технологий
» Основано на имитационном моделировании высокотемпературных процессов
» Полностью отечественное решение мирового уровня не имеющее аналогов
Инновационное программное обеспечение для инженерных расчетов в области технологической подготовки сварочного и родственных производств.
В основе разработки предлагаемой CAE-системы лежит многолетний опыт российской научной школы численного
анализа и моделирования сварочных процессов кафедры Сварки при Тульском государственном университете под
руководством проф. Судника В.А., проф. Рыбакова С.А., проф. Ерофеева В.А.
С 1973 по 2025 Школа занимается созданием математических моделей сварочных процессов и разработкой на их
основе специализированного программного обеспечения, его внедрением в промышленность, а также непосредственным
решением проблем технологии на промышленных предприятиях.
АО «Юмосс»
Что представляет собой объект инженерного анализа?
Объектом инженерного анализа в САЕ WeRTSim являются высокотемпературные сварочные и родственные технологии, в общем случае характеризующиеся:
- Многообразием конструктивных форм сварных соединений
- Многообразием параметров режима (защитные газовые смеси, скорость процесса и скорость подачи присадочного материала, углы наклона горелки, параметры фокусировки луча, вольт-амперная характеристика источника питания сварочной дуги, детали разной толщины, наличие зазора, смещение кромок и геометрия их разделки, форма неплавящегося электрода и др.)
- Широким спектром материалов и их толщин
- Многопроходностью и повторным нагревом материала
- Различными пространственными положениями сварки
- Сложностью сварочных траекторий
- Нелинейностью свойств и взимозависимостью физических процессов
Всё это самым непосредственным образом влияет на качество сварного соединения
Основная проблема - Прогнозирование качества
Как на стадии проектирования так и в процессе реализации технологии
Одной из проблем реализации сварочной технологии является возникновение различных дефектов, которые возникают как следствие неудачно выбранных параметров процесса, так и случайных отклонений этих параметров от нормы под воздействием внешних и внутренних факторов
Наиболее распространенные дефекты сварных швов

Другими проблемами являются изменение химического состава в зоне термического влияния вследствие испарения легирующих элементов, химические реакции горячего металла с окружающей средой, изменение прочностных характеристик металла после нагрева и охлаждения, а также возникновение напряженного состояния и упруго-пластических деформаций.
Поэтому целью проектирования и реализации сварочной технологии является обеспечение качества сварных соединений, заключающаяся в минимизации количества изделий с дефектами шва; сохранении химических, механических и прочностных характеристик изделия, минимизации сварочных напряжений и деформаций.
Для достижения этой цели мы предлагаем специализированный инструмент CAE WeRTSim для быстрого численного анализа сварочных и родственных технологий, основанный на имитационном моделировании
Задачи имитационного моделирования
Обозначенная выше цель инженерного анализа достигается решением следующих взаимосвязанных задач
Термодинамический анализ
Определение геометрии зоны сварки (расплавленного металла (сварочной ванны), затвердевшего металла (сварного шва)) и зоны термического влияния (ЗТВ) на основе заданной комбинации входных параметров (металла, оборудования и конкретного процесса)
Термомеханический анализ
Определение остаточных пластических деформаций и напряжений зоны сварки на стадии её охлаждения в соотвтетствии с термическим циклом термодинамического анализа
Фазовый анализ
Определение фазового состава металла шва и зоны термического влияния (аустенита, мартенсита, феррита и пр.), а также их распределение. Определение механических характеристик этих зон
Параметрическое исследование
Анализ влияния изменений варьируемых параметров на геометрию зоны сварки и ЗТВ
Предиктивная аналитика
Прогноз качества сварного соединения на основе термодинамического анализа с учётом возможных отклонений входных параметров
Диагностика
Сравнение качества сварных соединений, полученных при одинаковых комбинациях входных параметров, но с разными влияющими факторами (например, замена проволоки на плакировку)
Параметрический синтез
Определение неизвестного входного параметра на основе комбинации известных входных параметров и заданному результату (например, заданной геометрии зоны сварки)
Параметрическая оптимизация
Поиск комбинации входных параметров по заданному результату (например, заданной геометрии зоны сварки) на основе различных критериев оптимальности (например, минимальные затраты энергии, максимальное качество, максимальная стабильность, максимальная производительность)
Конкурентная среда
В основном применяется западное ПО, основанное на методе конечных элементов
Существующие CAE
- Ansys (Западное)
- Abaqus (Западное)
- Marc (Западное)
- Sysweld (Западное)
- Simufact Welding (Западное)
- Вертикаль (Отечественное)
- Bazis (Отечественное)
Ограничения для применения технологами
- Требуют спецподготовки
- Сложные в использовании
- Требуют CAD/FEM-сеток
- Учтены не все процессы
- Очень долгие расчёты
- Универсальные и не учитывают специфику конкретного процесса
Серьёзным ограничением этих вычислительных комплексов, основанных на численном решении задач математической физики методом конечных элементов (FEM), является сложность их использования, высокие требования к квалификации персонала, необходимость специального обучения. Главным препятствием использования на предприятиях машиностроения является чрезмерно длительное решение задач (иногда сутками и неделями), невозможность быстро решить некоторые важные типовые задачи (особенно при многопроходной сварке) и учесть специфику отдельного процесса, что неприемлемо для инженеров-технологов. Кроме того, большинство этих программных продуктов являются разработками западных компаний, что в современных условиях санкций, поиска и адаптации адекватных отечественных аналогов в разрезе программы импортозамещения является важнейшей задачей стратегического развития промышленности Российской Федерации.
Преимущества CAE WeRTSim
CAE «WeRTSim» - Продукт, объединяющий разные типы процессов в одной системе
MIG/MAG
SAW
TIG
LaW
EBW
RSW
RPW
FBW
FW
FSW
WAAM
LMD
В качестве родственных технологий выступают такие высокотемпературные процессы, как:
- поверхностное упрочнение
- плазменная наплавка
- пайка
- поверхностное напыление легирующих элементов
- дуговая/лучевая/плазменная резка/сверление/испарение/гравировка
- аддитивные технологии для 3D-печати металлических изделий
- и т.д.
Обобщённое сравнение возможностей CAE WeRTSim с коммерческими FEM-продуктами позволяет констатировать следующие преимущества:
- полностью отечественная разработка
- не требуется специальное обучение для работы с продуктом
- простой и наглядный пользовательский мультиязычный интерфейс для ввода исходных данных, представления результатов моделирования и управления вычислительными экспериментами, понятный инженерам-технологам по сварочному производству и позволяющий им концентрироваться исключительно на выполнении своих прямых задач
- генерация расчётной сетки производится автоматически препроцессором
- расчёт локальной зоны сварки (шов, ЗТВ, прилегающий металл)
- время расчёта составляет от нескольких минут до часа
- возможность анализа и расчёта параметров режима многопроходной сварки
- возможность раскладки отдельных швов многопроходного шва в разделке
- расширяемая платформа для новых технологических процессов и материалов
- расчёт расхода вспомогательных материалов при сварке (проволока, газ)
- учёт специфики различных процессов (источник тепла, граничные условия)
- расчёт свободной поверхности расплава и сварного шва
- моделирование сварки разноимённых и разнородных материалов
- моделирование сварки стыков произвольной формы
- расчёт параметров источника Голдака
- наличие модулей анализа, синтеза, оптимизации и диагностики
- оценка прочности и напряженно-деформационного состояния
- формирование отчётных документов расчёта (протоколов, карт и т.п.)
- возможность системной интеграции с CAD-программами, FEM-пакетами и системами управления промышленными роботами
Численное моделирование и компьютерная имитация высокотемпературных процессов на основе уникальных алгоритмов, разработанных и эволюционировавших в результате многолетних исследований, проведённых в российской научной школе численного анализа и моделирования сварочных процессов на кафедре Сварки в Тульском государственном университете под руководством проф. Судника В.А., проф. Рыбакова С.А., проф. Ерофеева В.А.
Основные расчетные алгоритмы различных сварочных процессов, которые будут использованы в Системе, были ранее верифицированы по экспериментальным данным и прошли проверку многолетней промышленной эксплуатацией на реальных производствах в международных концернах. Престижный научный журнал «Прикладная физика» опубликовал нашу статью с результатами верификации модели лазерной сварки, слайд из которой был вынесен на обложку номера «Volume 31 Number 24, 21 December 1998».
CAE «WeRTSim» это:
Принципы технической реализации:
- Высокоинтегрированное и защищённое решение на основе современных подходов к разработке и доставке приложений конечному пользователю
- Клиент-серверная архитектура приложения.
- Разграничение вычислений и расчётов клиентов продукта путём выделения их в независимые контуры внутри приватного облака Продукта
- Гибкая система тарификации времени и нагрузки при расчётах моделей
- Интеграция через API со сторонними сервисами
- Парсер входных параметров из сторонних программных продуктов
- Накопление расчётных и экспериментальных данных с целью создания и обучения нейро-сетевых моделей (аналогов численных модулей) для более быстрого, альтернативного расчёта
- Использование собственных уникальных алгоритмов расчётов, и признанных общедоступных open-source решений без ограничений использования
- Масштабируемая платформа для новых технологических процессов и материалов
Области применения CAE «WeRTSim»
Целевая аудитория
Машиностроение
Авиа- и ракетостроение
Автомобиле-, корабле- и вагоностроение
Приборостроение
Медицинская промышленность
Нефтегазовая промышленность
Химическая промышленность
Контролирующие организации
Разработчики источников питания
Учебные заведения
Области применения
Обучение студентов инженерных специальностей
Технологическая подготовка сварочного производства
Адаптация и оптимизация существующих проектов
Экспертная система по выбору сварочных материалов и оборудования
Управление сварочными роботами в режиме реального времени
Проектирование и разработка инновационного сварочного оборудования для разных пространственных положений и экстремальных условий (например, сварка под водой на большой глубине или в невесомости)
Цифровизация и роботизация производства
- технологическая подготовка производства:
- подбор режимов и настройка сварочного оборудования
- моделирование раскладки валиков в разделке кромок при многопроходной сварке
- расчёт оптимальных параметров режима
- оценка фазового состава металла шва и ЗТВ
- оценка механических свойств сварного шва и ЗТВ
- оценка напряжённо-деформированного состояния
- оценка прочностных характеристик сварного соединения
- и др.
- обучение инженеров по сварке:
- виртуализация сварочной установки для наглядного изучение технологических процессов
- снижение стоимости и повышение безопасности лабораторных/практических занятий
- повышение привлекательности технических специальностей
- выполнение курсовых и дипломных работ, научных исследований
- автоматизация/роботизация управления технологическими процессами на производстве
- обеспечение заданного качества сварного соединения
- выявление и быстрая обработка возмущений и внештатных ситуаций с коррекцией настроек сварочного оборудования
- управление сварочными роботами в реальном режиме времени
- быстрая перенастройка производственной линии
- создание инновационного сварочного оборудования
- интеллектуализация сварочного оборудования
- создание безлюдных производственных технологий
- актуализация/адаптация промышленных проектов под текущие условия
- корректировка режимов и настроек сварочного оборудования при существенных изменениях (замена импульсного источника сварочного тока, замена применяемой присадочной проволоки/электродов, изменение химического состава свариваемых изделий и пр.)
Бесшовная интеграция с конечно-элементными пакетами
Методика определения характеристик эквивалентного источника теплоты для выполнения расчётов деформаций при сварке
Формирование и передача эквивалентного источника теплоты из CAE «WERTSIM» в FEM-Software
Передача эквивалентного источника теплоты из CAE wertsim в FEM-Software на примере пакета Ansys
В пакете ANSYS решение, полученное в результате имитации сварки WeRTSim должно транслироваться вдоль сварного шва, по сетке сгенерированной препроцессором пакета ANSYS. Для этого используются две системы координат: подвижная и неподвижная. В подвижной системе координат содержится решение, полученное в результате имитации сварки WeRTSim, это решение передаётся на неподвижную систему координат используемую в пакете ANSYS
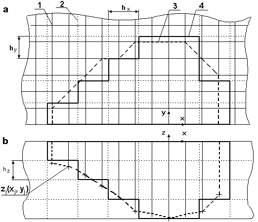
Схема переноса сварочной ванны в пластине с конечноразностной сетки на конечно-элементную сетку: а) вид сверху, б) вид спереди ( 1 - сетка конечных разностей, 2 - сетка конечных элементов, 3 - контур сварочной ванны на сетке конечных разностей, 4-контур сварочной ванны на сетке конечных элементов)
Два метода расчета с использованием пакета ANSYS: парогазовый канал в виде параллелепипеда с неизвестной температурой испарения [Hillebrandt et al., 1993] и эквивалентный источник в виде сварочной ванны (WeRTSim)
Результаты конечно-элементных расчетов температурного поля (пакет ANSYS) из эквивалентного источника в виде сварочной ванны (WeRTSim)
Результаты конечно-элементных расчетов температурного поля (пакет ANSYS) из эквивалентного источника в виде сварочной ванны (WeRTSim)
Изотермы 1400 и 743 °С в поперечном сечении по координате х: - 0,38 (а), -2,62 (б), -3,79 (в) и -4,85 (г) мм
Сравнение полученного в эксперименте (1) и полученного путем моделирования (2) термических циклов
Примеры имитационных моделей сварочных процессов в составе CAE «WeRTSim»
Стыковая сварка сопротивлением
Точечная лазерная сварка
Лазерная сварка кольцевого шва
Стационарная модель лазерной сварки
Эквивалентный источник теплоты
Имитационная модель тестирования эквивалентных источников теплоты
Нестационарная модель лазерной сварки
Расчет химического состава, механических свойств и параметров сварного соединения
Многолучевая сварка
Точечная контактная сварка
Дуговая сварка плавящимся электродом
Импульсная дуговая сварка плавящимся электродом
Сварка трением с перемешиванием (FSW)
Для симуляции процессов используются стационарные и динамические имитационные модели сварки сложных форм стыка (стыковое соединение с зазором и смещением кромок, нахлёсточное соединение с зазором, угловое и тавровое (одностороннее, двустороннее) соединения с плакировкой, а также любое произвольное соединение) из разнородных материалов (стали, алюминиевые/вольфрамовые/титановые сплавы). Стационарные модели позволяют исследовать устоявшиеся (стабилизированные во времени) процессы, например, геометрию зоны расплава и ЗТВ для протяженных прямолинейных швов. Динамические модели позволяют исследовать динамику изменений зоны расплава и ЗТВ для нестационарных процессов, например, сварка короткими штрихами, многопроходная сварка, сварка круговых швов и т.п.
Примеры базовых и специальных программных модулей в составе CAE «WeRTSim»
БД химсостава и теплофизических свойств материалов
Препроцессор
Постпроцессор
Вычислительные эксперименты
Taskmanager
Отчет (протокол расчета)
Пресолвер расчета импульсов тока
Термоциклы
Визуализация результата
Некторые примеры визуализации результатов расчётаимитационными моделями, входящими в состав CAE WeRTSim: GMAW-процесс (сверху), сварка трением с перемешиванием FSW (снизу)
Контакты
Адрес
Россия, Москва, Волгоградский проспект, 2
Телефон
+7 962 962 6039
div@umoss.ru
div@wertsim.ru